当前位置:首页>自动驾驶>2025 年度十大突破性专利:6G、自动驾驶与下一代生物科技

2025 年度十大突破性专利:6G、自动驾驶与下一代生物科技

  • 2026-05-13 05:23:28
2025 年度十大突破性专利:6G、自动驾驶与下一代生物科技

从 6G 网络到自动驾驶地图数据,再到抗虫害作物,今年 USPTO 授权的一系列关键专利正在重塑技术与产业格局。站在法律与创新的交汇点,精选 2025 年度十大代表性专利,快速浏览全球创新的最新风向,呈现全球创新趋势背后的制度力量与知识产权价值。

#1U.S.12,389,294

Framework for a 6G Ubiquitous Access Network

6G 无处不在接入网络框架

自 5G 网络商用部署以来约五年,截至 2024 年,全球市场上已出现覆盖 29 种外形规格的至少 2,549 种 5G 设备类型,2024 年第一季度全球 5G 连接数已接近 20 亿。预计将在 2030 年代实现商用的 6G 网络,将能够在单位面积内支持比现有系统高出 10 至 100 倍的连接密度,并通过支持低功耗广域设备及零能耗设备接入物联网,进一步提升终端类型的多样性。

本年度排名首位的专利于 8 月授予 AT&T,其权利要求涉及一种在用户设备上识别可选择通过地面无线网络或卫星网络执行的应用的方法,并在该重新分配能够提升网络覆盖范围或可用带宽时,对应用的执行路径进行切换。该项发明旨在通过将 Wi‑Fi、5G 与长期演进(LTE)网络与卫星网络进行融合,实现无处不在的连接能力。

#2U.S.12,223,593

Detection of Misalignment Hotspots for High Definition Maps for Navigating Autonomous Vehicles

用于自动驾驶导航的高清地图错位热点检测

自特斯拉首次推出 Autopilot 自动驾驶模式以来已逾十年。根据美国国家公路交通安全管理局(NHTSA)的数据,目前在美国市场销售的车辆中,尚无任何车型达到 5 级完全自动化标准。尽管如此,围绕自动驾驶车辆的保险、道路测试等事项的监管体系正在快速成形,仅在今年,各州立法机构便已提出涉及自动驾驶监管的相关法案 67 项,覆盖 25 个州。

本年度排名第二的专利于 2 月授予英伟达(Nvidia),其针对自动驾驶系统在保持道路状况信息实时更新方面的关键技术瓶颈提出解决方案。该项‘593 专利的方法通过对来自多辆车辆的采集数据执行跨轨迹成对比对,确定相对成对变换关系,并据此对轨迹数据进行对齐,从而生成地图数据。所要求保护的系统还可通过用户界面接收进一步的人工修正,该界面能够显示存储地图数据与当前道路状况之间可能存在的错位概率。

#3U.S.12,428,650

Corn Event 5307

玉米 5307 事件

玉米是美国最重要的农作物之一。2024 年,美国玉米销售额在全部 2,427 亿美元的作物现金收入中占据 634 亿美元。根据作物保护网络(Crop Protection Network)的统计,节肢动物等无脊椎害虫仍然是影响美国玉米产量的主要因素之一,2024 年在 29 个州造成约 4% 的减产。

本年度排名第三的专利于 9 月授予总部位于瑞士的先正达作物保护公司(Syngenta Crop Protection)。该专利要求保护一种在其基因组中整合了具杀虫活性的毒素基因的转基因玉米植株。正如 ‘650 专利所述,农药对有益生物的影响以及抗农药害虫的出现,使得开发替代性害虫防控策略成为必要。该项发明还包括一种编码磷甘露糖异构酶(phosphomannose isomerase)的基因,以及其他可用于检测产生该杀虫基因的转基因事件的分离核酸序列。

#4U.S.12,296,173

Circuit for an Implantable Device 

植入式装置用电路

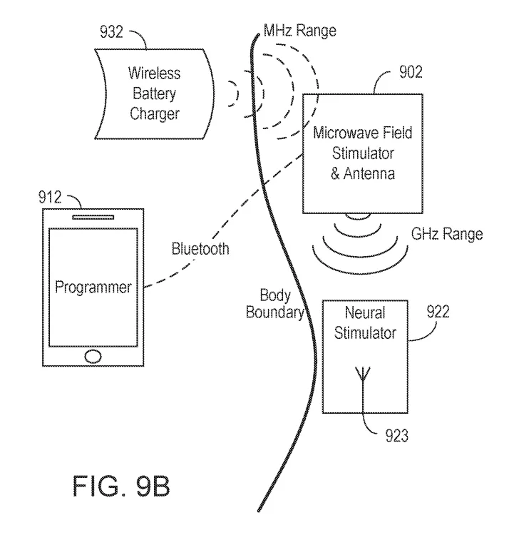
根据美国疾病控制与预防中心(CDC)的统计,2023 年约有四分之一的美国成年人经历持续三个月或以上的慢性疼痛。‘173 专利于 5 月授予总部位于佛罗里达的医疗设备开发商 Curonix,其要求保护一种可植入式装置,该装置包括用于向神经组织传递电刺激脉冲的电极,以及通过电辐射耦合方式无线接收能量的偶极天线,从而使装置能够对神经束进行刺激。对神经束的上述刺激对患有慢性疼痛的患者具有治疗作用,并可用于改善包括炎症、关节炎及睡眠呼吸暂停在内的其他相关疾病。

#5U.S.12,443,942

Systems and Methods of Blockchain Transaction Recordation

区块链交易记录的系统与方法

随着美国证券交易委员会(SEC)近日宣布将于明年启动部分证券的代币化试点项目,去中心化区块链体系与传统金融机构之间的结构性鸿沟正以渐进方式被弥合。‘942 专利于 10 月授予纳斯达克(NASDAQ),其针对在需要透明度或可审计性的环境中实施匿名交易账本所面临的现有技术难题提出解决方案。

该专利要求保护的系统能够以电子方式存储数字钱包,其中的区块链地址基于私有密码密钥生成;系统还可处理涉及资源交换(例如股票)的交易,并基于数字钱包数据生成哈希标识符,使其被纳入分布式账本系统的区块链中。上述技术方案旨在在保持必要审计能力的同时,实现匿名性与合规性之间的平衡。

#6U.S.12,374,843

Pogo Pin Connector

弹簧顶针连接器

总部位于加利福尼亚的健康技术开发商 Masimo 近期在其光学传感器技术组合方面取得重大进展。在涉及可穿戴脉搏血氧监测技术的诉讼中,Masimo 于加州中区联邦法院获得陪审团作出的 6.34 亿美元判决,进一步凸显其光学传感技术的商业与技术价值。

本年度排名靠前的 ‘843 专利于 7 月授予 Masimo,其要求保护一种连接器与传感器组件。该组件利用透射光或声波对患者进行非侵入式生理参数监测;其中,连接器包含多个弹簧顶针(pogo pins),可适配多种类型的传感器,从而实现对更广泛生理功能的测量。该项发明旨在提升可穿戴医疗设备的兼容性与监测能力,为临床与消费级健康监测提供更高的技术灵活性。

#7U.S.12,215,365

Cas Variants for Gene Editing

用于基因编辑的 Cas 变体

利用成簇规律间隔短回文重复序列(CRISPR)系统及其相关的 CRISPR 相关蛋白(Cas),可实现高度精确的基因组编辑。今年 5 月,联邦巡回上诉法院推翻了先前关于 Broad 研究所与哈佛大学在 CRISPR‑Cas9 技术上的专利干涉裁定,使该领域的重要专利争议再度升温,而对立方为加州大学伯克利分校。

本年度排名靠前的 ‘365 专利于 2 月授予哈佛大学,其要求保护一种多分子复合物,该复合物包含胞苷脱氨酶、Cas9 变体蛋白以及单导向 RNA(sgRNA)。该复合物能够对与遗传性疾病相关的 DNA 序列中的点突变进行校正,并在目标序列中引入终止密码子。该项发明旨在为特定遗传疾病提供更高精度的基因编辑工具。

#8U.S.12,407,712

Artificial Intelligence Cyber Security Analyst

用于网络安全分析的人工智能系统

美国联邦政府目前正就人工智能技术在医疗、军事等多个领域的潜在应用开展研究。‘712 专利于 9 月授予总部位于英国的 Darktrace Holdings,其要求保护一种利用基于人工智能的网络安全分析系统,对特定的真实或合成网络威胁进行调查的方法。

该专利所述系统包括一个用于生成潜在威胁假设的分析模块,能够对可能的网络攻击情形进行推断;人工智能分析器随后依据置信度模型对这些威胁进行排序,并以可读形式呈现给人类用户,以辅助进一步的安全评估与决策。

#9U.S.12,258,397

Production of Engineered T-Cells by Sleeping Beauty Transposon Coupled with Methotrexate Selection

通过睡美人转座子并结合甲氨蝶呤筛选制备工程化 T 细胞

2025 年末发表的两项癌症免疫治疗研究显示,工程化 T 细胞疗法取得了重要进展,其治疗速度显著快于传统的 T 细胞采集与扩增方法。‘397 专利于 3 月授予华盛顿大学,其要求保护一种利用微环(minicircles)生成工程化多重 T 细胞的方法。微环是一类用于转基因递送的质粒衍生物,不含任何可被机体识别为外源性的细菌 DNA 序列。

该项发明通过使用上述微环实现对 T 细胞的高效工程化改造,为加速细胞治疗产品的制备并提升其安全性与有效性提供了新的技术路径。

#10U.S.12,288,671

Film Deposition Apparatus for Fine Pattern Forming

用于精细图形形成的薄膜沉积装置

根据半导体产业协会(Semiconductor Industry Association)的预测,全球半导体销售额预计将在 2025 年实现 22.5% 的增长,2026 年的行业收入有望进一步攀升,接近 1 万亿美元规模。

‘671 专利于 4 月授予东京电子(Tokyo Electron),其要求保护一种薄膜沉积装置。该装置的工艺腔室可同时供应氧气与源气体,用于在掩膜图形形成过程中执行瘦化(slimming)工艺。通过对工艺腔室及气体供应方式的特定配置,该发明能够减少瘦化步骤的复杂度,从而降低半导体制造中精细图形形成的整体成本。

参考文献:

https://ipwatchdog.com/2025/12/31/top-10-patents-2025-ubiquitous-6g-connections-auditable-blockchain-transactions-pest-resistant-transgenic-corn/

标签(Hashtags)

#知识产权 #专利法 #USPTO #科技创新 #6G #自动驾驶 #生物技术 #法律行业洞察 #IPStrategy #GlobalInnovation

最新文章

随机文章

基本 文件 流程 错误 SQL 调试
  1. 请求信息 : 2026-05-14 17:03:01 HTTP/2.0 GET : https://e.mffb.com.cn/a/466732.html
  2. 运行时间 : 0.322516s [ 吞吐率:3.10req/s ] 内存消耗:4,482.37kb 文件加载:140
  3. 缓存信息 : 0 reads,0 writes
  4. 会话信息 : SESSION_ID=27f97e020a923d441f9c24d1ec5e4756
  1. /yingpanguazai/ssd/ssd1/www/e.mffb.com.cn/public/index.php ( 0.79 KB )
  2. /yingpanguazai/ssd/ssd1/www/e.mffb.com.cn/vendor/autoload.php ( 0.17 KB )
  3. /yingpanguazai/ssd/ssd1/www/e.mffb.com.cn/vendor/composer/autoload_real.php ( 2.49 KB )
  4. /yingpanguazai/ssd/ssd1/www/e.mffb.com.cn/vendor/composer/platform_check.php ( 0.90 KB )
  5. /yingpanguazai/ssd/ssd1/www/e.mffb.com.cn/vendor/composer/ClassLoader.php ( 14.03 KB )
  6. /yingpanguazai/ssd/ssd1/www/e.mffb.com.cn/vendor/composer/autoload_static.php ( 4.90 KB )
  7. /yingpanguazai/ssd/ssd1/www/e.mffb.com.cn/vendor/topthink/think-helper/src/helper.php ( 8.34 KB )
  8. /yingpanguazai/ssd/ssd1/www/e.mffb.com.cn/vendor/topthink/think-validate/src/helper.php ( 2.19 KB )
  9. /yingpanguazai/ssd/ssd1/www/e.mffb.com.cn/vendor/topthink/think-orm/src/helper.php ( 1.47 KB )
  10. /yingpanguazai/ssd/ssd1/www/e.mffb.com.cn/vendor/topthink/think-orm/stubs/load_stubs.php ( 0.16 KB )
  11. /yingpanguazai/ssd/ssd1/www/e.mffb.com.cn/vendor/topthink/framework/src/think/Exception.php ( 1.69 KB )
  12. /yingpanguazai/ssd/ssd1/www/e.mffb.com.cn/vendor/topthink/think-container/src/Facade.php ( 2.71 KB )
  13. /yingpanguazai/ssd/ssd1/www/e.mffb.com.cn/vendor/symfony/deprecation-contracts/function.php ( 0.99 KB )
  14. /yingpanguazai/ssd/ssd1/www/e.mffb.com.cn/vendor/symfony/polyfill-mbstring/bootstrap.php ( 8.26 KB )
  15. /yingpanguazai/ssd/ssd1/www/e.mffb.com.cn/vendor/symfony/polyfill-mbstring/bootstrap80.php ( 9.78 KB )
  16. /yingpanguazai/ssd/ssd1/www/e.mffb.com.cn/vendor/symfony/var-dumper/Resources/functions/dump.php ( 1.49 KB )
  17. /yingpanguazai/ssd/ssd1/www/e.mffb.com.cn/vendor/topthink/think-dumper/src/helper.php ( 0.18 KB )
  18. /yingpanguazai/ssd/ssd1/www/e.mffb.com.cn/vendor/symfony/var-dumper/VarDumper.php ( 4.30 KB )
  19. /yingpanguazai/ssd/ssd1/www/e.mffb.com.cn/vendor/topthink/framework/src/think/App.php ( 15.30 KB )
  20. /yingpanguazai/ssd/ssd1/www/e.mffb.com.cn/vendor/topthink/think-container/src/Container.php ( 15.76 KB )
  21. /yingpanguazai/ssd/ssd1/www/e.mffb.com.cn/vendor/psr/container/src/ContainerInterface.php ( 1.02 KB )
  22. /yingpanguazai/ssd/ssd1/www/e.mffb.com.cn/app/provider.php ( 0.19 KB )
  23. /yingpanguazai/ssd/ssd1/www/e.mffb.com.cn/vendor/topthink/framework/src/think/Http.php ( 6.04 KB )
  24. /yingpanguazai/ssd/ssd1/www/e.mffb.com.cn/vendor/topthink/think-helper/src/helper/Str.php ( 7.29 KB )
  25. /yingpanguazai/ssd/ssd1/www/e.mffb.com.cn/vendor/topthink/framework/src/think/Env.php ( 4.68 KB )
  26. /yingpanguazai/ssd/ssd1/www/e.mffb.com.cn/app/common.php ( 0.03 KB )
  27. /yingpanguazai/ssd/ssd1/www/e.mffb.com.cn/vendor/topthink/framework/src/helper.php ( 18.78 KB )
  28. /yingpanguazai/ssd/ssd1/www/e.mffb.com.cn/vendor/topthink/framework/src/think/Config.php ( 5.54 KB )
  29. /yingpanguazai/ssd/ssd1/www/e.mffb.com.cn/config/app.php ( 0.95 KB )
  30. /yingpanguazai/ssd/ssd1/www/e.mffb.com.cn/config/cache.php ( 0.78 KB )
  31. /yingpanguazai/ssd/ssd1/www/e.mffb.com.cn/config/console.php ( 0.23 KB )
  32. /yingpanguazai/ssd/ssd1/www/e.mffb.com.cn/config/cookie.php ( 0.56 KB )
  33. /yingpanguazai/ssd/ssd1/www/e.mffb.com.cn/config/database.php ( 2.48 KB )
  34. /yingpanguazai/ssd/ssd1/www/e.mffb.com.cn/vendor/topthink/framework/src/think/facade/Env.php ( 1.67 KB )
  35. /yingpanguazai/ssd/ssd1/www/e.mffb.com.cn/config/filesystem.php ( 0.61 KB )
  36. /yingpanguazai/ssd/ssd1/www/e.mffb.com.cn/config/lang.php ( 0.91 KB )
  37. /yingpanguazai/ssd/ssd1/www/e.mffb.com.cn/config/log.php ( 1.35 KB )
  38. /yingpanguazai/ssd/ssd1/www/e.mffb.com.cn/config/middleware.php ( 0.19 KB )
  39. /yingpanguazai/ssd/ssd1/www/e.mffb.com.cn/config/route.php ( 1.89 KB )
  40. /yingpanguazai/ssd/ssd1/www/e.mffb.com.cn/config/session.php ( 0.57 KB )
  41. /yingpanguazai/ssd/ssd1/www/e.mffb.com.cn/config/trace.php ( 0.34 KB )
  42. /yingpanguazai/ssd/ssd1/www/e.mffb.com.cn/config/view.php ( 0.82 KB )
  43. /yingpanguazai/ssd/ssd1/www/e.mffb.com.cn/app/event.php ( 0.25 KB )
  44. /yingpanguazai/ssd/ssd1/www/e.mffb.com.cn/vendor/topthink/framework/src/think/Event.php ( 7.67 KB )
  45. /yingpanguazai/ssd/ssd1/www/e.mffb.com.cn/app/service.php ( 0.13 KB )
  46. /yingpanguazai/ssd/ssd1/www/e.mffb.com.cn/app/AppService.php ( 0.26 KB )
  47. /yingpanguazai/ssd/ssd1/www/e.mffb.com.cn/vendor/topthink/framework/src/think/Service.php ( 1.64 KB )
  48. /yingpanguazai/ssd/ssd1/www/e.mffb.com.cn/vendor/topthink/framework/src/think/Lang.php ( 7.35 KB )
  49. /yingpanguazai/ssd/ssd1/www/e.mffb.com.cn/vendor/topthink/framework/src/lang/zh-cn.php ( 13.70 KB )
  50. /yingpanguazai/ssd/ssd1/www/e.mffb.com.cn/vendor/topthink/framework/src/think/initializer/Error.php ( 3.31 KB )
  51. /yingpanguazai/ssd/ssd1/www/e.mffb.com.cn/vendor/topthink/framework/src/think/initializer/RegisterService.php ( 1.33 KB )
  52. /yingpanguazai/ssd/ssd1/www/e.mffb.com.cn/vendor/services.php ( 0.14 KB )
  53. /yingpanguazai/ssd/ssd1/www/e.mffb.com.cn/vendor/topthink/framework/src/think/service/PaginatorService.php ( 1.52 KB )
  54. /yingpanguazai/ssd/ssd1/www/e.mffb.com.cn/vendor/topthink/framework/src/think/service/ValidateService.php ( 0.99 KB )
  55. /yingpanguazai/ssd/ssd1/www/e.mffb.com.cn/vendor/topthink/framework/src/think/service/ModelService.php ( 2.04 KB )
  56. /yingpanguazai/ssd/ssd1/www/e.mffb.com.cn/vendor/topthink/think-trace/src/Service.php ( 0.77 KB )
  57. /yingpanguazai/ssd/ssd1/www/e.mffb.com.cn/vendor/topthink/framework/src/think/Middleware.php ( 6.72 KB )
  58. /yingpanguazai/ssd/ssd1/www/e.mffb.com.cn/vendor/topthink/framework/src/think/initializer/BootService.php ( 0.77 KB )
  59. /yingpanguazai/ssd/ssd1/www/e.mffb.com.cn/vendor/topthink/think-orm/src/Paginator.php ( 11.86 KB )
  60. /yingpanguazai/ssd/ssd1/www/e.mffb.com.cn/vendor/topthink/think-validate/src/Validate.php ( 63.20 KB )
  61. /yingpanguazai/ssd/ssd1/www/e.mffb.com.cn/vendor/topthink/think-orm/src/Model.php ( 23.55 KB )
  62. /yingpanguazai/ssd/ssd1/www/e.mffb.com.cn/vendor/topthink/think-orm/src/model/concern/Attribute.php ( 21.05 KB )
  63. /yingpanguazai/ssd/ssd1/www/e.mffb.com.cn/vendor/topthink/think-orm/src/model/concern/AutoWriteData.php ( 4.21 KB )
  64. /yingpanguazai/ssd/ssd1/www/e.mffb.com.cn/vendor/topthink/think-orm/src/model/concern/Conversion.php ( 6.44 KB )
  65. /yingpanguazai/ssd/ssd1/www/e.mffb.com.cn/vendor/topthink/think-orm/src/model/concern/DbConnect.php ( 5.16 KB )
  66. /yingpanguazai/ssd/ssd1/www/e.mffb.com.cn/vendor/topthink/think-orm/src/model/concern/ModelEvent.php ( 2.33 KB )
  67. /yingpanguazai/ssd/ssd1/www/e.mffb.com.cn/vendor/topthink/think-orm/src/model/concern/RelationShip.php ( 28.29 KB )
  68. /yingpanguazai/ssd/ssd1/www/e.mffb.com.cn/vendor/topthink/think-helper/src/contract/Arrayable.php ( 0.09 KB )
  69. /yingpanguazai/ssd/ssd1/www/e.mffb.com.cn/vendor/topthink/think-helper/src/contract/Jsonable.php ( 0.13 KB )
  70. /yingpanguazai/ssd/ssd1/www/e.mffb.com.cn/vendor/topthink/think-orm/src/model/contract/Modelable.php ( 0.09 KB )
  71. /yingpanguazai/ssd/ssd1/www/e.mffb.com.cn/vendor/topthink/framework/src/think/Db.php ( 2.88 KB )
  72. /yingpanguazai/ssd/ssd1/www/e.mffb.com.cn/vendor/topthink/think-orm/src/DbManager.php ( 8.52 KB )
  73. /yingpanguazai/ssd/ssd1/www/e.mffb.com.cn/vendor/topthink/framework/src/think/Log.php ( 6.28 KB )
  74. /yingpanguazai/ssd/ssd1/www/e.mffb.com.cn/vendor/topthink/framework/src/think/Manager.php ( 3.92 KB )
  75. /yingpanguazai/ssd/ssd1/www/e.mffb.com.cn/vendor/psr/log/src/LoggerTrait.php ( 2.69 KB )
  76. /yingpanguazai/ssd/ssd1/www/e.mffb.com.cn/vendor/psr/log/src/LoggerInterface.php ( 2.71 KB )
  77. /yingpanguazai/ssd/ssd1/www/e.mffb.com.cn/vendor/topthink/framework/src/think/Cache.php ( 4.92 KB )
  78. /yingpanguazai/ssd/ssd1/www/e.mffb.com.cn/vendor/psr/simple-cache/src/CacheInterface.php ( 4.71 KB )
  79. /yingpanguazai/ssd/ssd1/www/e.mffb.com.cn/vendor/topthink/think-helper/src/helper/Arr.php ( 16.63 KB )
  80. /yingpanguazai/ssd/ssd1/www/e.mffb.com.cn/vendor/topthink/framework/src/think/cache/driver/File.php ( 7.84 KB )
  81. /yingpanguazai/ssd/ssd1/www/e.mffb.com.cn/vendor/topthink/framework/src/think/cache/Driver.php ( 9.03 KB )
  82. /yingpanguazai/ssd/ssd1/www/e.mffb.com.cn/vendor/topthink/framework/src/think/contract/CacheHandlerInterface.php ( 1.99 KB )
  83. /yingpanguazai/ssd/ssd1/www/e.mffb.com.cn/app/Request.php ( 0.09 KB )
  84. /yingpanguazai/ssd/ssd1/www/e.mffb.com.cn/vendor/topthink/framework/src/think/Request.php ( 55.78 KB )
  85. /yingpanguazai/ssd/ssd1/www/e.mffb.com.cn/app/middleware.php ( 0.25 KB )
  86. /yingpanguazai/ssd/ssd1/www/e.mffb.com.cn/vendor/topthink/framework/src/think/Pipeline.php ( 2.61 KB )
  87. /yingpanguazai/ssd/ssd1/www/e.mffb.com.cn/vendor/topthink/think-trace/src/TraceDebug.php ( 3.40 KB )
  88. /yingpanguazai/ssd/ssd1/www/e.mffb.com.cn/vendor/topthink/framework/src/think/middleware/SessionInit.php ( 1.94 KB )
  89. /yingpanguazai/ssd/ssd1/www/e.mffb.com.cn/vendor/topthink/framework/src/think/Session.php ( 1.80 KB )
  90. /yingpanguazai/ssd/ssd1/www/e.mffb.com.cn/vendor/topthink/framework/src/think/session/driver/File.php ( 6.27 KB )
  91. /yingpanguazai/ssd/ssd1/www/e.mffb.com.cn/vendor/topthink/framework/src/think/contract/SessionHandlerInterface.php ( 0.87 KB )
  92. /yingpanguazai/ssd/ssd1/www/e.mffb.com.cn/vendor/topthink/framework/src/think/session/Store.php ( 7.12 KB )
  93. /yingpanguazai/ssd/ssd1/www/e.mffb.com.cn/vendor/topthink/framework/src/think/Route.php ( 23.73 KB )
  94. /yingpanguazai/ssd/ssd1/www/e.mffb.com.cn/vendor/topthink/framework/src/think/route/RuleName.php ( 5.75 KB )
  95. /yingpanguazai/ssd/ssd1/www/e.mffb.com.cn/vendor/topthink/framework/src/think/route/Domain.php ( 2.53 KB )
  96. /yingpanguazai/ssd/ssd1/www/e.mffb.com.cn/vendor/topthink/framework/src/think/route/RuleGroup.php ( 22.43 KB )
  97. /yingpanguazai/ssd/ssd1/www/e.mffb.com.cn/vendor/topthink/framework/src/think/route/Rule.php ( 26.95 KB )
  98. /yingpanguazai/ssd/ssd1/www/e.mffb.com.cn/vendor/topthink/framework/src/think/route/RuleItem.php ( 9.78 KB )
  99. /yingpanguazai/ssd/ssd1/www/e.mffb.com.cn/route/app.php ( 1.72 KB )
  100. /yingpanguazai/ssd/ssd1/www/e.mffb.com.cn/vendor/topthink/framework/src/think/facade/Route.php ( 4.70 KB )
  101. /yingpanguazai/ssd/ssd1/www/e.mffb.com.cn/vendor/topthink/framework/src/think/route/dispatch/Controller.php ( 4.74 KB )
  102. /yingpanguazai/ssd/ssd1/www/e.mffb.com.cn/vendor/topthink/framework/src/think/route/Dispatch.php ( 10.44 KB )
  103. /yingpanguazai/ssd/ssd1/www/e.mffb.com.cn/app/controller/Index.php ( 4.81 KB )
  104. /yingpanguazai/ssd/ssd1/www/e.mffb.com.cn/app/BaseController.php ( 2.05 KB )
  105. /yingpanguazai/ssd/ssd1/www/e.mffb.com.cn/vendor/topthink/think-orm/src/facade/Db.php ( 0.93 KB )
  106. /yingpanguazai/ssd/ssd1/www/e.mffb.com.cn/vendor/topthink/think-orm/src/db/connector/Mysql.php ( 5.44 KB )
  107. /yingpanguazai/ssd/ssd1/www/e.mffb.com.cn/vendor/topthink/think-orm/src/db/PDOConnection.php ( 52.47 KB )
  108. /yingpanguazai/ssd/ssd1/www/e.mffb.com.cn/vendor/topthink/think-orm/src/db/Connection.php ( 8.39 KB )
  109. /yingpanguazai/ssd/ssd1/www/e.mffb.com.cn/vendor/topthink/think-orm/src/db/ConnectionInterface.php ( 4.57 KB )
  110. /yingpanguazai/ssd/ssd1/www/e.mffb.com.cn/vendor/topthink/think-orm/src/db/builder/Mysql.php ( 16.58 KB )
  111. /yingpanguazai/ssd/ssd1/www/e.mffb.com.cn/vendor/topthink/think-orm/src/db/Builder.php ( 24.06 KB )
  112. /yingpanguazai/ssd/ssd1/www/e.mffb.com.cn/vendor/topthink/think-orm/src/db/BaseBuilder.php ( 27.50 KB )
  113. /yingpanguazai/ssd/ssd1/www/e.mffb.com.cn/vendor/topthink/think-orm/src/db/Query.php ( 15.71 KB )
  114. /yingpanguazai/ssd/ssd1/www/e.mffb.com.cn/vendor/topthink/think-orm/src/db/BaseQuery.php ( 45.13 KB )
  115. /yingpanguazai/ssd/ssd1/www/e.mffb.com.cn/vendor/topthink/think-orm/src/db/concern/TimeFieldQuery.php ( 7.43 KB )
  116. /yingpanguazai/ssd/ssd1/www/e.mffb.com.cn/vendor/topthink/think-orm/src/db/concern/AggregateQuery.php ( 3.26 KB )
  117. /yingpanguazai/ssd/ssd1/www/e.mffb.com.cn/vendor/topthink/think-orm/src/db/concern/ModelRelationQuery.php ( 20.07 KB )
  118. /yingpanguazai/ssd/ssd1/www/e.mffb.com.cn/vendor/topthink/think-orm/src/db/concern/ParamsBind.php ( 3.66 KB )
  119. /yingpanguazai/ssd/ssd1/www/e.mffb.com.cn/vendor/topthink/think-orm/src/db/concern/ResultOperation.php ( 7.01 KB )
  120. /yingpanguazai/ssd/ssd1/www/e.mffb.com.cn/vendor/topthink/think-orm/src/db/concern/WhereQuery.php ( 19.37 KB )
  121. /yingpanguazai/ssd/ssd1/www/e.mffb.com.cn/vendor/topthink/think-orm/src/db/concern/JoinAndViewQuery.php ( 7.11 KB )
  122. /yingpanguazai/ssd/ssd1/www/e.mffb.com.cn/vendor/topthink/think-orm/src/db/concern/TableFieldInfo.php ( 2.63 KB )
  123. /yingpanguazai/ssd/ssd1/www/e.mffb.com.cn/vendor/topthink/think-orm/src/db/concern/Transaction.php ( 2.77 KB )
  124. /yingpanguazai/ssd/ssd1/www/e.mffb.com.cn/vendor/topthink/framework/src/think/log/driver/File.php ( 5.96 KB )
  125. /yingpanguazai/ssd/ssd1/www/e.mffb.com.cn/vendor/topthink/framework/src/think/contract/LogHandlerInterface.php ( 0.86 KB )
  126. /yingpanguazai/ssd/ssd1/www/e.mffb.com.cn/vendor/topthink/framework/src/think/log/Channel.php ( 3.89 KB )
  127. /yingpanguazai/ssd/ssd1/www/e.mffb.com.cn/vendor/topthink/framework/src/think/event/LogRecord.php ( 1.02 KB )
  128. /yingpanguazai/ssd/ssd1/www/e.mffb.com.cn/vendor/topthink/think-helper/src/Collection.php ( 16.47 KB )
  129. /yingpanguazai/ssd/ssd1/www/e.mffb.com.cn/vendor/topthink/framework/src/think/facade/View.php ( 1.70 KB )
  130. /yingpanguazai/ssd/ssd1/www/e.mffb.com.cn/vendor/topthink/framework/src/think/View.php ( 4.39 KB )
  131. /yingpanguazai/ssd/ssd1/www/e.mffb.com.cn/vendor/topthink/framework/src/think/Response.php ( 8.81 KB )
  132. /yingpanguazai/ssd/ssd1/www/e.mffb.com.cn/vendor/topthink/framework/src/think/response/View.php ( 3.29 KB )
  133. /yingpanguazai/ssd/ssd1/www/e.mffb.com.cn/vendor/topthink/framework/src/think/Cookie.php ( 6.06 KB )
  134. /yingpanguazai/ssd/ssd1/www/e.mffb.com.cn/vendor/topthink/think-view/src/Think.php ( 8.38 KB )
  135. /yingpanguazai/ssd/ssd1/www/e.mffb.com.cn/vendor/topthink/framework/src/think/contract/TemplateHandlerInterface.php ( 1.60 KB )
  136. /yingpanguazai/ssd/ssd1/www/e.mffb.com.cn/vendor/topthink/think-template/src/Template.php ( 46.61 KB )
  137. /yingpanguazai/ssd/ssd1/www/e.mffb.com.cn/vendor/topthink/think-template/src/template/driver/File.php ( 2.41 KB )
  138. /yingpanguazai/ssd/ssd1/www/e.mffb.com.cn/vendor/topthink/think-template/src/template/contract/DriverInterface.php ( 0.86 KB )
  139. /yingpanguazai/ssd/ssd1/www/e.mffb.com.cn/runtime/temp/600e51726691ba7063b44bb89d9aaaff.php ( 11.98 KB )
  140. /yingpanguazai/ssd/ssd1/www/e.mffb.com.cn/vendor/topthink/think-trace/src/Html.php ( 4.42 KB )
  1. CONNECT:[ UseTime:0.001222s ] mysql:host=127.0.0.1;port=3306;dbname=e_mffb;charset=utf8mb4
  2. SHOW FULL COLUMNS FROM `fenlei` [ RunTime:0.001646s ]
  3. SELECT * FROM `fenlei` WHERE `fid` = 0 [ RunTime:0.000966s ]
  4. SELECT * FROM `fenlei` WHERE `fid` = 63 [ RunTime:0.001000s ]
  5. SHOW FULL COLUMNS FROM `set` [ RunTime:0.002000s ]
  6. SELECT * FROM `set` [ RunTime:0.000884s ]
  7. SHOW FULL COLUMNS FROM `article` [ RunTime:0.003025s ]
  8. SELECT * FROM `article` WHERE `id` = 466732 LIMIT 1 [ RunTime:0.001477s ]
  9. UPDATE `article` SET `lasttime` = 1778749381 WHERE `id` = 466732 [ RunTime:0.024213s ]
  10. SELECT * FROM `fenlei` WHERE `id` = 67 LIMIT 1 [ RunTime:0.000964s ]
  11. SELECT * FROM `article` WHERE `id` < 466732 ORDER BY `id` DESC LIMIT 1 [ RunTime:0.001853s ]
  12. SELECT * FROM `article` WHERE `id` > 466732 ORDER BY `id` ASC LIMIT 1 [ RunTime:0.001180s ]
  13. SELECT * FROM `article` WHERE `id` < 466732 ORDER BY `id` DESC LIMIT 10 [ RunTime:0.002333s ]
  14. SELECT * FROM `article` WHERE `id` < 466732 ORDER BY `id` DESC LIMIT 10,10 [ RunTime:0.013559s ]
  15. SELECT * FROM `article` WHERE `id` < 466732 ORDER BY `id` DESC LIMIT 20,10 [ RunTime:0.035014s ]
0.328511s